-
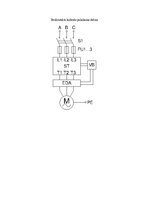
Asinhronā dzinēja vadības un aizsardzības aparātu izvēle
Work pack:
GREAT DEAL buying in a pack ➞ your savings −6,48 €
- Asinhronā dzinēja vadības un aizsardzības aparātu izvēle
- Ēku energoefektivitātes paaugstināšana
- Elektrotehnikas konspekts
Work pack Nr. 1408598


